819云互联是一家专门经营海外机房的主机商,特色:硬盘够大 有6T 8T 10T 14T等等,供独立服务器产品,云服务器、裸金属等多种类型可以选择。地区选择多样,如香港、美国、日本、台湾、韩国、东南亚等多个机房可选。
客服QQ:282053092,3589064253
819云互联官网: https://www.819yun.com/

这里我们将测评下819云互联的香港独立服务器,有需要的可以参考下。819云互联的香港独立服务器使用的是沙田机房,拥有三网CN2回程线路,支持站群,提供20Mbps~100Mbps独享带宽可以选择。
我们将从延迟、稳定性、路由线路、性能几个方面进行网络测试,看看从大陆地区访问网络怎么样。
先看看本地Ping的平均延迟效果,如下所示:
可以看到我本地Ping的平均延迟在62ms左右,网络还是非常稳定的,基本都没有丢包的情况。
下面我们看看电信、联通、移动三网全国Ping平均延迟效果,如下所示:

可以看到三网Ping的平均延迟在56ms左右,其中电信网络延迟在47ms左右,联通网络延迟在40ms左右,移动网络延迟在83ms左右。
我们再测试下全球各地网络稳定性情况,如下所示:

可以看到全球各地稳定性都是相当不错的,不管是国内节点还是海外节点都很稳定,基本都没有丢包的情况。
下面我们将测试下电信、联通和移动网络去程和回程路由。
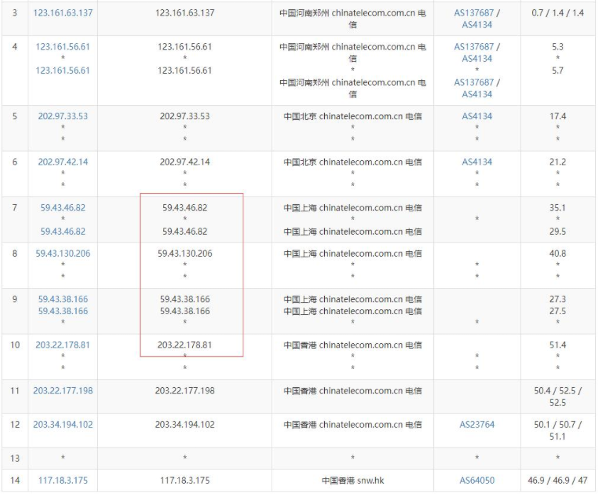
电信去程路由:

电信去程路由是从上海网口出去,然后直连香港机房,并且走的是59.43的CN2线路。
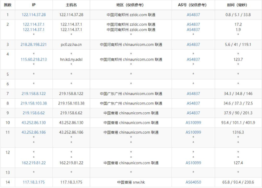
联通去程路由:

联通去程路由是从广州网口出去,然后直连香港机房,走的是联通AS4837线路。
移动去程路由:

移动去程路由是从上海网口出去,经过日本节点后到达香港机房,走的是移动CMI线路。
下是三网回程路由线路测试情况。
电信回程路由:

联通回程路由:

移动回程路由:

从上面的测试结果可以看到,三网回程都是直连的,并且都是走的59.43的CN2线路。所以回程路由是相当不错的。
我们看看819云互联的这款香港独立服务器性能,测试结果如下所示:

我这款测试机使用的是E5-2640 CPU,主频为2.6GHz。磁盘IO为211MB/秒左右,所以可以确定使用的是固态硬盘。
所以从测试的结果来看,819云互联的这款香港独立服务器网络还是相当不错的,稳定性、路由线路、性能各方面都很适合大陆地区用户使用。
价格套餐
819云互联的香港独立服务器提供了站群、CN2线路可以选择,根据内存、CPU、带宽等不同分为多个套餐。下面我们列举几个典型的套餐,以表格的形式展示,具体如下所示:
热门服务器
| 地区 | CPU | 内存 | 硬盘 | 带宽 | IP | 流量 | 价格 |
| 香港流量云 | 1核 | 512m | 10G | 5M CN2 | 1个 | 100G | 9.58元/月 |
| 香港流量云 | 1核 | 1G | 20G | 5M CN2 | 1个 | 200G | 15.98元/月 |
| 香港流量云 | 1核 | 2G | 20G | 5M CN2 | 1个 | 200G | 19.98元/月 |
| 香港将军澳 | E3-1230 | 16 | 4T*2 | 100M CN2 | 2个 | 不限 | 3000元/月 |
| 香港葵湾 | E5-2660*2 | 32G | 4T*2 | 100M CN2 | 3个 | 不限 | 3000元/月 |
| 香港沙田 | 金牌6138 | 32G | 1.9T*3 | 100M BGP | 3个 | 不限 | 3000元/月 |
| 美国洛杉矶 | E3-1230V3 | 16G | 480SSD/1T机械 | 30M/50M/100M CN2 | 3个 | 不限 | 550元/月 |
| 马来西亚 | E3-1230V3 | 16G | 240 SSD | 100M CN2 | 2个 | 不限 | 1899元/月 |
| 柬埔寨 | E5-2680*2 | 16G | 1T SATA | 20M CN2 | 3个 | 不限 | 1920元/月 |
| 越南 | E5-2650v2*2 | 64G | 1T SATA | 20M CN2 | 3个 | 不限 | 2200元/月 |
| 台湾 | E3-1230V3 | 16G | 240 SSD | 100M CN2 | 2个 | 不限 | 1699元/月 |
以上是部分产品,有其他需求在线联系官方客服即可。
文章来源于互联网:819云互联:香港大硬盘机器推荐-香港将军澳 100M CN2 8T 2IP 3000元
推荐阅读:
AI 编码工具推荐 |
机场推荐合集 |
Infini vs 火山方舟 |
Infini Coding Plan |
火山方舟 Coding Plan |
优云智算 Coding Plan






暂无评论内容